安徽威特儀表科技有限公司
地址(Add):安徽省天長市銅城鎮工業園
聯系人:劉經理
電話:(Tel):0550-7510188
傳真(Fax):0550-7510188
手機(Mob):13637027177
QQ:2514824005
郵箱(E-mail):2514824005
網址:http://www.sqzybz.com/

一、概述
BY 2088壓力變送器靈敏度高、精度高、抗過載能力強。采用進口傳感器制造,傳感器和放大電路高度集成;采用壓鑄合金鋁表面噴漆殼體,電路零點和增益無須調整;抗干擾能力強,耐酸堿,長期穩定可靠。
二、工作原理
BY 2088壓力變送器選用進口壓力芯片,敏感元件采用擴散或離子注入等工藝形成電阻并連接成惠斯通電橋,用微機械加工技術在電橋下形成壓力敏感膜片。當壓力作用在膜片上時,電阻值發生變化并且產生一個與作用壓力成正比的線性化輸出信號。我們在惠斯通電橋上加上直流電源,就會產生一個直流電壓信號的輸出。經過二次轉換線路,實現兩線制4~20mA輸出。
三、功能特點
◆穩定性好,滿度、零位長期穩定性可達0.2%FS/年。在補償溫度0~70℃范圍內,溫度飄移低于0.2%FS,在整個允許工作溫度范圍內低于0.5%FS。
◆具有反向保護、限流保護電路,在安裝時正負極接反不會損壞變送器,異常時,變送器會自動限流在35mA以內。
◆固態結構,無可動部件,高可靠性,使用壽命長
◆從風壓到氣、水、油、蒸汽都可以進行高精度的測量,不受被測介質質量大小的影響。
◆安裝方便、結構簡單、經濟耐用。
四、主要技術參數
|
測量范圍: |
0-10KPa~0-40MPa |
|
******過載: |
標準量程的2倍 |
|
壓力形式: |
表壓、微差壓 |
|
精度等級: |
0.5%F·S |
|
電源電壓: |
24V DC |
|
負載電阻: |
≤500Ω |
|
測量介質: |
蒸汽壓力或氣體、液體 |
|
長期穩定性: |
±0.2% F·S/年 |
|
環境相對濕度: |
0~95% |
|
補償溫度: |
0~70℃ |
|
工作溫度: |
-10~70℃ |
五、結構特點
|
外殼: |
壓鑄合金鋁 |
|
主體結構材料: |
1Cr18Ni9Ti |
|
壓力接口: |
M20×1.5 |
|
自重: |
普通型1kg、帶表頭型1.2kg |
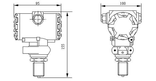
六、外型尺寸

七、調試方法
擰下保護蓋,即可看到調零和滿程電阻器,外接標準電源及電流表(0.2級以上),即可調整,步驟如下:
1、在變送器沒有加壓力的情況下,調節零點電阻器,使之輸出電流4mA,
2、變送器加壓力到滿量程,調節滿程電阻器,使之輸出電流20mA,
3、反復以上步驟兩三次,直到信號正常。
4、調節完畢,擰緊保護蓋。
八、注意事項
◆凡供貨產品均帶有使用說明書及合格證,其中有產品編號、技術參數、出廠日期等,請認真核對,以免用錯。
◆不可用堅硬的物體直接擠壓變送器膜片,以免損傷變送器。
◆安裝時應根據產品連接方式和螺紋類型,查對現場接口是否與產品接口一致,連接時應慢速擰緊,不能把轉矩直接加到變送器殼體上,只能加在壓力接口的六方上。
◆接供電電源時應嚴格按照我公司接線說明進行連接。
◆ 變送器過載壓力不可超過量程的200% 。
◆使用中發現異常,應關掉電源,停止使用,進行檢查,或直接向我公司技術部門聯系。
◆運輸、儲存時應恢復原包裝,存放在陰涼、干燥、通風的庫房內。
◆本產品包用期為12個月。
九、電器連接圖

地址:安徽省天長市銅城鎮工業園 皖ICP備2020015340號-1
聯系人:劉經理 手機:13637027177
電話:0550-7510188 傳真: 0550-7510188
QQ:2514824005 信箱:2514824005@qq.com
網址:http://www.sqzybz.com/